
MIL-DTL-38449D
a. Conducted interference (30 Hz to 14 kHz)
b. Conducted interference (14 kHz to 100 mHz)
c. Radiated interference (14 kHz to 400 mHz)
d. Conducted susceptibility (30 Hz to 150 kHz)
e. Conducted susceptibility (150 kHz to 400 mHz)
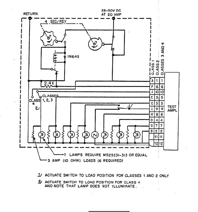
FIGURE 6. Life test schematic.
27
For Parts Inquires call Parts Hangar, Inc (727) 493-0744
© Copyright 2015 Integrated Publishing, Inc.
A Service Disabled Veteran Owned Small Business