
MIL-DTL-38449D
c. Switch S3 shall be closed for approximately 2 seconds during which time L1 shall
oscillate, the amplifier shall not advance, and DS1 shall remain lighted.
d. Switch S4 (momentary) shall be closed; the amplifier shall advance to the CONTACT
position, DS1 shall be extinguished, and DS2 shall be lighted.
e. Switch S3 shall be closed for approximately 2 seconds during which time L1 shall
oscillate, the amplifier shall not advance, and DS2 shall remain lighted.
4.4.6.3 Intercommunication amplifier tests (classes 3 and 4 only).
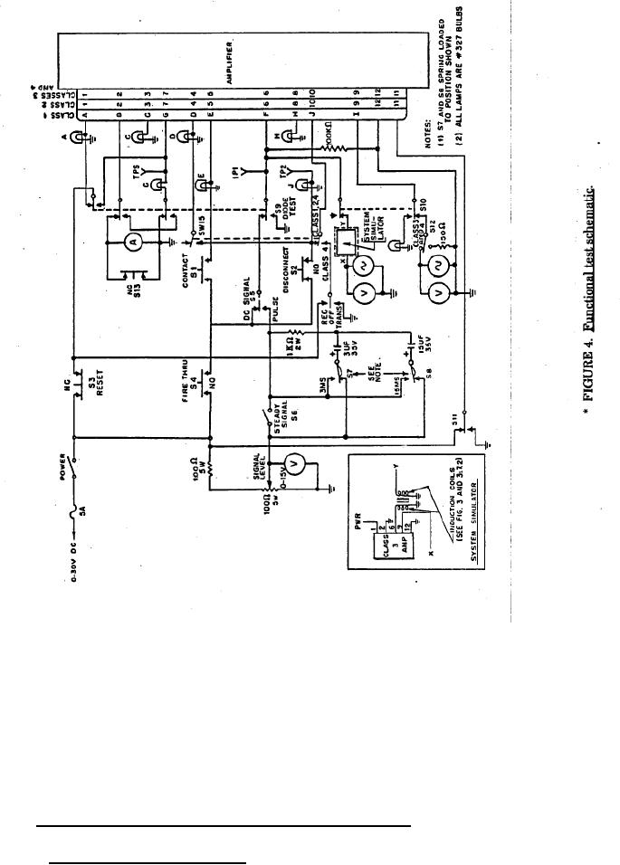
4.4.6.3.1 Transmit gain and attack level. The unit shall be tested as follows (reference Figure4):
22
For Parts Inquires call Parts Hangar, Inc (727) 493-0744
© Copyright 2015 Integrated Publishing, Inc.
A Service Disabled Veteran Owned Small Business